2017十大网络流行语商标申请!freestyle最多,皮皮虾次之
2021-04-13
admin
裕阳IP、人民日报
导读:2017年接近尾声,各种年度投票又将开始,今天我们就会说到其中一个:由人民日报发起,3万网友投票选出的2017年十大网络流行语。依次是“你有freestyle吗”“扎心了,老铁”“贫穷限制了我的想象力”……网友心中的2017十大网络流行语新鲜出炉。并由此展开,说一说流行语申请注册商标的事。

对freestyle进行查询,可以查到141条记录。和预期不同的是,这141个商标中,绝大部分都是在“你有freestyle吗”成为网络流行语之前申请注册的,只有2个的申请日期是在2017年6月份,即出现该短语之后的。这和freestyle是一个常规并有积极含义的英语词汇有关。

部分关于“freestyle”的商标
其中,最早的一个“freestyle”商标注册于1991年,于2001年失效。


可以查询到3个“扎心了老铁”商标、4个“扎心”商标、42个“老铁”商标。其中,部分“扎心”和“老铁”商标的注册时间早于短语流行时间。

“扎心了老铁”商标

“扎心”商标

部分“老铁”商标
在流行语出现后,商标注册时间趋于密集,42个“老铁”商标,申请于1993年至2016年的有31个,其余11个均申请于2017年4月份以后。

由于该短语较长,并且不包含具有特色的关键词,尚未有可查询到的相关商标申请记录。

该短语情况与3类似,尚未有可查询到的相关商标申请记录。

与3、4情况类似,尚未有可查询到的相关商标申请记录。好玩的是,黑龙江省邮政局速递局曾于2005年申请过一个叫做“惊喜不意外EMS”的商标。遗憾的是该商标于2009年被驳回,没有注册成功。


情况与3、4、5类似,尚未有可查询到的相关商标申请记录。

情况与3、4、5、6类似,尚未有可查询到的相关商标申请记录。

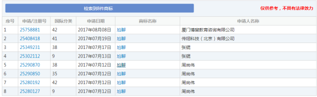
作为一个凭空出现的新兴词汇,目前为止已经有8条商标申请记录,申请时间集中于2017年7月、8月。

“尬聊”商标