故宫娃娃火了却突然被下架,听听知产人怎么说

2021-04-13
郭介之、张丹枫、
华进知识产权

 

故宫俏格格娃娃停售 被指与某品牌类似

南有魔都大上海,北有首都大北京,小编眼里的北京,除了人山人海以外,最知名的莫过于故宫了。故宫2017年接待观众逾1699万人次,规模之壮观不亚于春运,而下雪时故宫最美。不过你知道吗?故宫也有周边!

 

故宫淘宝,小仙女们一定不陌生,实在是太美了!打开淘宝,搜索“故宫淘宝”,让我们来感受下画风:

 

 

 

故宫文创近期推出“俏格格娃娃”,根据中国人的传统五官印象设计,并在故宫淘宝认证店销售,售价599元。在小编看来,这款娃娃真的美出天际,不禁让人少女心泛滥。

 

 

 

 

1

这么火的娃娃怎么就下架了呢?

 

现在进入故宫淘宝店铺,已经找不到这款娃娃了。这么火的娃娃怎么就下架了呢?原来是有网友指出,该款娃娃身体部分与国外某品牌娃娃的身体相似。

 

 

 

内行看门道,外行看热闹。娃娃的身体部分,在网上引起了热议,还有不少内行网友站出来科普。但是故宫淘宝本着严谨的态度与精神,在3月22号下午发布了“关于宫廷宝贝娃娃的知识产权说明”。原来娃娃身体部分为合作工厂提供的享有知识产权的结构通用身体模型,实用新型专利证书专利号为ZL201420714815.1,使用该身体模型是权利人授权的。

 

 

 

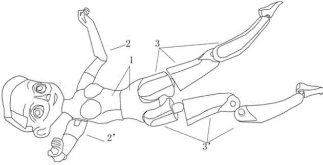
为此,小编检索了这项专利,专利附图如下:

 

 

 

 

 

“本实用新型的玩具娃娃的可活动躯体结构采用在手臂根部设置一肩胛部,仿真人体的手部关节活动,以及在大腿根部通过一腿部连接件将两个大腿可转动连接在身体下,具有关节仿真效果好,安装制作简单的优点。”

 

 

 

简单来说,这款娃娃身体关节更多,更加逼真,与童年回忆里的芭比娃娃相比,可变换的造型也更多。

 

2

知产人怎么看?

 

首先先给故宫文创点个赞!对于故宫淘宝快速、诚恳的回应,网友纷纷点赞。这才是打造文化品牌的态度。知识产权保护是塑造良好营商环境的重要方面。故宫淘宝下架娃娃,尊重知识产权之举,无疑给其他企业树立了良好榜样 。产品一旦流入市场,被发现侵权,会对企业声誉产生不好影响。

 

小编作为一个知产人在此建议企业:

1
产品研发前端——专利预警

专利预警一般在产品研发前端,还未形成最终产品时进行。这时候研发的早期产品和概念还未形成,无法进行产品权利要求的比对。通过研发立项前的专利信息检索和相应的数据分析,帮助创新主体明确研发起点、提高研发效率、减少研发成本、开拓研发方向,寻找有价值的技术人员和合作伙伴、避免潜在的专利侵权风险。

2
产品上市前——FTO尽职调查

FTO尽职调查是指对实施该技术是否可能侵犯他人专利权和违反其他法律法规的规定而进行的调查和研究。通常来说,尽早开展FTO尽职调查可以尽早使企业查明其欲实施的技术是否有侵犯他人在先知识产权的可能性。

 

FTO的分析可以贯穿整个产品开发过程,但原则上要求有确定的技术特征,科学的做法是在产品研发前端有相应的专利预警,让研发人员知晓该领域的相应专利,在产品技术特征最终成型后进行FTO分析,这个时候FTO的结果侵权可能性已经很低,最后的步骤只是确认不侵权,否则在产品技术特征成型时确定侵权风险高,这时候修改和规避的代价会非常大(1)。

3
发现侵权了怎么办?——侵权分析

企业在产品上市前,甚至在产品设计规划的初期,即对产品涉及的技术方案或外观进行侵权分析,若发现产品所使用的技术或外观可能侵犯他人在先的知识产权,则应积极寻求专权利人或著作权人的许可,或者对产品技术方案作出规避设计;

 

若企业因前期未能做好产品侵权分析工作,临近产品上市才发现有可能侵权他人专利权,也可在相关专利稳定性较低情况下,向国家知识产权局专利复审委员会提出针对相关专利的无效请求。

 

如果您的企业遇到了这样的问题,别忘了咨询专业团队哦~(找我找我