申请人于2014年03月25日向国家知识产权局递交上述专利申请,在发明专利的实质审查阶段,审查员分别于2015年06月02日、2015年10月23日发出了第一次审查意见通知书和第二次审查意见通知书,第一次审查意见通知书中指出上述申请的全部权利要求均不符合专利法规定的创造性,经过一次审查意见的答复后,第二次审查意见通知书发出的形式修改意见和放弃同日申请的实用新型的通知,上述申请目前已被授权。
答辩方案:
本申请的防粘翻矸车在正常使用时如图1所示:

图1
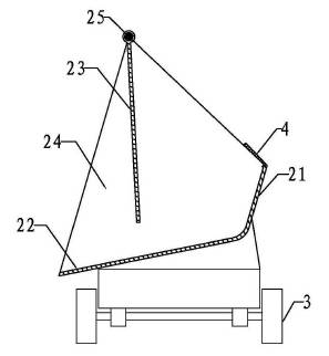
本申请的防粘翻矸车在翻转的时候如图2所示:

图2
对比文件1的名称为无动力翻车机,申请号为201020647031.3,对比文件1中的无动力翻车机的结构如图3所示:
图3
审查员在第一次审查意见通知书中指出,本申请的权利要求1相比于对比文件1的区别技术特征为:(1)车斗2的翻转为侧翻,车斗2倒锥形的大口端设置有轴承座,后面板23顶端固定有旋转轴25;(2)车斗2由底板21、前面板22、后面板23及两侧板24构成倒锥形,车斗2底部设置有防止后面板23向后转动的挡板4,但是区别技术特征(1)是本领域技术人员的常规选择,区别技术特征(2)是本领域技术人员容易想到的。
我们从以下几个方面进行答辩:(1)现有的翻矸车均为如对比文件1的图2中所示的圆弧形底,由于碴大多从矿井底部运出,矿井底部的运输空间比较小,且进出矿井不便,倒锥形车斗相比于圆弧型底的车斗会使每个车斗的装碴量减少(使用环境),因此,本申请将车斗制作成倒锥形是本领域技术人员不容易想到的;(2)圆弧型底的车斗相比于倒锥形的车斗具有可一体加工的优点,便于批量生产(加工便利性),因此,本申请将倒锥形车斗的后面板23与前面板22、两侧板24以及底板21分体加工是不容易想到的;(3)现有的翻矸车均如对比文件1中是绕着行车轨道上的轴旋转的方式来倾倒翻矸车内的碴,而本申请是利用车斗绕着车架1的侧翻来倾倒翻矸车内的碴(运动情况),这点是不容易想到的;(4)本申请的翻矸车翻转后,后面板23在自身重力作用下实现绕着旋转轴25的转动(操作方式)是不容易想到的;(5)本申请在车斗2底部设置有防止后面板23向后转动的挡板4是不容易想到的。
最终,审查员接受了我们的答辩意见,在第二次审查意见通知书中指出,说明书第0015段中的“后面板能绕旋转轴旋转,后面板的前端朝向前面板的方向翻转”是本申请解决其技术问题必不可少的技术特征,应添加至权利要求1中,并且本申请的权利要求不符合专利法第9条第1款的规定,需要放弃同日申请的实用新型才能授权。
结果:
审查员于2016年01月07日发出了授予发明专利权通知书。
建议:
对于机械领域,在答复审查意见的时候,审查员大多会以“容易想到”、“常规选择”的观点来驳专利申请的创造性。在这种情况下,可以从产品的使用环境、操作方式、运动情况、加工便利性等方面对专利的创造性进行答辩。